很可惜 T 。T 您现在还不是作者身份,不能自主发稿哦~
如有投稿需求,请把文章发送到邮箱tougao@appcpx.com,一经录用会有专人和您联系
咨询如何成为春羽作者请联系:鸟哥笔记小羽毛(ngbjxym)
作者 | 张语格
编辑 | 趣解商业TMT组
近两年,随着人工智能已成为全球科技竞争的制高点,AI已成为资本市场“偏爱”的行业之一。
从芯片、大模型到智能硬件乃至机器人,凡是沾上AI叙事的企业估值几乎都水涨船高;在这股热潮下,不少AI企业启动IPO计划以实现进一步发展,也有部分传统行业公司试图跨界布局甚至转型All in AI,AI赛道投资热度高涨。
近期,就在智元机器人完成收购上纬新材的同期,又一家AI独角兽企业筹划“买入”一家上市公司。
11月11日,纺织制造企业真爱美家(003041.SZ)发布的公告显示,AI科技企业“探迹科技”将通过旗下主体“探迹远擎”,以约18亿元的价格收购真爱美家44.99%的股权。

探迹科技此番控股真爱美家采用了“协议转让+部分要约”的组合方式,是近年来科技公司入主A股上市公司的典型路径。
公告显示,探迹科技通过专为此次收购设立的特殊目的载体(SPV)“探迹远擎”,以每股27.74元的价格,收购真爱集团所持的真爱美家29.99%股权,此后探迹远擎还将通过部分要约收购再获15%股份,两笔交易合计斥资约17.97亿元。交易完成后,探迹远擎将持有真爱美家44.99%股权成为控股股东,真爱美家实际控制人也将变更为探迹科技创始人兼CEO黎展。
公告发出后,真爱美家股价连续多日上涨,半月之内涨幅近100%,股价从30元出头涨到最高64.92元/股;截至12月15日,真爱美家报收42.6元/股,市值61.34亿元。

成立于2016年的广州独角兽企业“探迹科技”,是国内智能销售SaaS领域的头部企业,其“80后”创始人黎展的愿景是“让天下没有难做的销售”。
探迹科技成立之初一直致力于提升客户企业的销售效率,利用人工智能与大数据,为企业提供从“找客户”到“成单”的全流程销售赋能服务,客户不乏阿里巴巴、字节跳动、DHL、格力电器等互联网、制造业巨头。
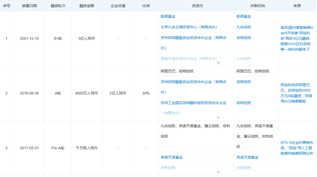
天眼查显示,探迹科技成立之后曾有过3次公开融资,累计融资约5亿元,其资方包含阿里巴巴、红杉中国、九合创投、启明创投等明星机构的身影。

探迹科技的最近一轮3亿人民币的B+轮融资停留在了2021年,此后再没有公开的融资信息。考虑到人民币基金的存续周期,投资机构面临的退出压力也越来越大;在此背景下,探迹科技与真爱美家的合作,也被业内猜测是试图去二级市场寻求突破。
在并购之前,真爱美家市值不足30亿元、股权集中,且主营业务单一,毛毯的生产销售收入占据了总营收88%以上,对探迹科技而言是理想的“壳资源”。在交易过程中,探迹科技选择了“29.99%协议转让+15%部分要约”的方式,实现控制的同时避免了触发全面要约收购的条件,被外界猜测其是否要“借壳上市”。
面对股价异动,真爱美家很快发布公告称,目前经营一切正常。“截至目前,公司主营业务未发生重大变化,收购方不存在未来36个月内通过上市公司借壳上市的计划或安排。”
中国企业资本联盟中国区首席经济学家柏文喜认为,探迹科技的并购方式不触发强制要约,也不构成《重组办法》第十三条“控制权变更+ 100% 资产总额”双重指标,从条文上看不算重组上市;公告明确真爱美家12个月内不改变主营业务、不注入资产,若36个月后探迹再注入核心AI资产,只需走普通重大资产重组程序,无需按照IPO标准审核;不过,在此期间,探迹科技不能有任何“抽屉协议”或资金占用,否则监管可启动回溯。

无论并购目的如何,这笔交易对于探迹科技和真爱美家似乎是个双赢的结果。公告发布后,真爱美家股价连续多日上涨;虽然近日股价有所回落,但若按披露的转让价格计算,探迹科技此次交易账面浮盈已超7.45亿元。
对真爱美家创始人郑期中而言,这场交易或许也是一次“完美退场”。身为真爱集团的实际控制人,郑期中持有65%的股份;以股权转让及要约收购合计18亿元价格计算,郑期中在此次控制权变更交易中很可能拿到约11亿元的股权转让价款。
真爱美家一直深耕在家居纺织品赛道,在拉舍尔时尚毛毯的设计与制造极具竞争力,致力于成为“世界毯王”;中国纺织工业联合会组织的中国纺织服装行业企业竞争力排名显示,真爱美家毛毯类产品均位列同行业第一位。
然而,由于主要销售阵地在海外,这些年真爱美家的业绩出现了不小的波动。2023、2024年,真爱美家营业收入分别为9.53亿元、8.79亿元,分别同比下降2.64%、7.77%。对厚重型毛毯有巨大需求的中东和非洲,是真爱美家的主要市场;真爱美家曾在财报中表示,在地缘政治等背景下,全球供应链调整,“部分纺织产能继续向东南亚(越南、印度、孟加拉)和北非(埃及、摩洛哥)转移,国内企业面临东南亚低成本竞争及贸易壁垒压力。”
面对外部环境的震荡,真爱美家一方面切入毛利更高的威尔顿色织地毯等毛毯产品,一方面也尝试通过智能化、数字化改造提升生产效率;今年前三季度,真爱美家的营收重新回到增长轨道。在半年报中,真爱美家表示,在智能制造降本增效赋能下,公司传统毛毯产品的市场占有率有望进一步提升。

此时,探迹科技的入主无疑能给真爱美家的智能制造带来更大的想象空间,其数据驱动能力或可帮助真爱美家重构海外客户洞察体系。
在柏文喜看来,探迹科技选择与真爱美家合作,很可能就是瞄准了毛毯业务的场景。真爱美家近80% 的收入来自海外毛毯订单,拥有从纺纱、织造、印染到跨境仓库的全链路数据;探迹的 AI 销售云、智能客服、贸易风控模型正好缺一条可复制的“出海+制造业”标杆场景。
值得注意的是,今年来A股市场已经有多起科技企业控股传统制造业上市公司的事件。
7月份,智元机器人收购主营树脂材料的上纬新材63.62%的股份;8月份,AI芯片设计公司中昊芯英收购汽车热管理系统零部件厂商天普股份。二者都是通过“协议转让+部分要约”的方式拿到控制权。

2024年9月,证监会发布《关于深化上市公司并购重组市场改革的意见》,支持上市公司围绕战略性新兴产业、未来产业(如AI、半导体、商业航天、生物制造等)开展并购;2025年8月,国务院印发了《关于深入实施"人工智能+"行动的意见》,提出推动人工智能与各行业深度融合;随后出台的系列政策,进一步明确了加快智能技术在制造业领域应用的方向。
柏文喜表示,“并购六条”颁布后,硬科技并购列为快速审核通道,监管对跨行业并购持包容态度,只要不构成重组上市,可先行取得平台再做产业整合;接下来,像探迹科技与真爱美家这样的跨界并购,很可能在政策窗口期持续涌现。
除了以12亿元的代价收购真爱集团持有真爱美家的29.99%股权外,探迹科技还将通过部分要约以每股27.74 元的价格收购真爱美家15%股份;在部分要约启动前,探迹科技需要将约6亿元的收购价款全额存入指定银行的监管账户,作为履约保证金。
有不少投资者都十分关心双方股份过户登记的进展,并担心探迹科技是否具有完成这笔收购的资金实力。而如何解决18亿元的交易资金,也是制约探迹科技能否成功控股真爱美家的核心因素。
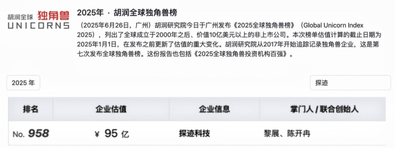
在公告中,探迹科技对于资金来源仅表示自有或自筹资金,不过探迹科技成立以来并未直接披露过财务和盈利状况。2025年11月胡润研究院发布的《2025全球独角兽榜》显示,探迹科技估值为95亿元。
参考此前智元机器人收购上纬新材股权,主要是与上海浦东发展银行、招商银行等签署银团贷款合同,获得不超过13.9亿元的并购贷款,用于支付收购对价。

盛景嘉成创投创始合伙人彭志强曾公开表示,中国大部分SaaS及数字化企业始终处于亏损状态,是风险投资的“黑洞”。探迹科技发展初期是数据驱动型SaaS,也同样要面临客户续费难、价格战利润低等行业难题。
不过,探迹科技如今已经不再强调自身的SaaS属性,而是转型成智能体平台,企业愿景也从“让天下没有难做的销售”变为“致力于让每个企业都拥有自己的AI数字员工”;今年11月,探迹科技推出了B2B Agent、B2C Agent以及帮助外贸企业拓客的海外版Futern,主打像人一样具备业务理解、自主决策与持续进化能力。
像探迹一样拥抱AI的SaaS厂商不在少数,然而,Agent在现实企业应用中的表现却并不如想象中出色。华夏基石管理咨询集团董事长彭剑锋曾将数字员工解释为未来“一个团队的效率+零个错误的精准+24小时不休息的耐力”,目前的Agent还远达不到这一水平,各行业对数字员工探索仍处于初期。
曾有自动化软从业者表示,大模型会改变SaaS,但目前的大模型还做不到。比如在探迹科技业务覆盖的B2C智能客服领域,“客服重复问题太多,看起来容易被替代,但是现在大模型幻觉仍然很严重,做不到人工客服最基本的准确。”
由此来看,探迹科技的业务前景和盈利状况仍存在不确定性。另外值得注意的是,作为依赖海量企业数据驱动的拓客平台,探迹科技还面临着数据合规与安全风险。
拓展客户资源需要收集大量个人信息。曾有从业者对“21世纪经济报道”表示,探迹曾因爬取招聘网站脉脉的用户数据被告上法庭。2024年广州南沙区人民法院的一份判决书显示,“某迹”公司未经许可,抓取并存储“某脉”平台的用户数据;法院判决其立即停止不正当竞争行为,并赔偿合理费用共计250万元。
探迹科技此次入股真爱美家,或许会产生1+1>2的效果,然而,二者能否真正实现“AI+制造”的深度融合,真正帮真爱美家提升海外订单转化、优化供应链决策,仍有待市场和时间的检验。
本文为作者独立观点,不代表鸟哥笔记立场,未经允许不得转载。
《鸟哥笔记版权及免责申明》 如对文章、图片、字体等版权有疑问,请点击 反馈举报
Powered by QINGMOB PTE. LTD. © 2010-2025 上海青墨信息科技有限公司 沪ICP备2021034055号-6

我们致力于提供一个高质量内容的交流平台。为落实国家互联网信息办公室“依法管网、依法办网、依法上网”的要求,为完善跟帖评论自律管理,为了保护用户创造的内容、维护开放、真实、专业的平台氛围,我们团队将依据本公约中的条款对注册用户和发布在本平台的内容进行管理。平台鼓励用户创作、发布优质内容,同时也将采取必要措施管理违法、侵权或有其他不良影响的网络信息。
一、根据《网络信息内容生态治理规定》《中华人民共和国未成年人保护法》等法律法规,对以下违法、不良信息或存在危害的行为进行处理。
1. 违反法律法规的信息,主要表现为:
1)反对宪法所确定的基本原则;
2)危害国家安全,泄露国家秘密,颠覆国家政权,破坏国家统一,损害国家荣誉和利益;
3)侮辱、滥用英烈形象,歪曲、丑化、亵渎、否定英雄烈士事迹和精神,以侮辱、诽谤或者其他方式侵害英雄烈士的姓名、肖像、名誉、荣誉;
4)宣扬恐怖主义、极端主义或者煽动实施恐怖活动、极端主义活动;
5)煽动民族仇恨、民族歧视,破坏民族团结;
6)破坏国家宗教政策,宣扬邪教和封建迷信;
7)散布谣言,扰乱社会秩序,破坏社会稳定;
8)宣扬淫秽、色情、赌博、暴力、凶杀、恐怖或者教唆犯罪;
9)煽动非法集会、结社、游行、示威、聚众扰乱社会秩序;
10)侮辱或者诽谤他人,侵害他人名誉、隐私和其他合法权益;
11)通过网络以文字、图片、音视频等形式,对未成年人实施侮辱、诽谤、威胁或者恶意损害未成年人形象进行网络欺凌的;
12)危害未成年人身心健康的;
13)含有法律、行政法规禁止的其他内容;
2. 不友善:不尊重用户及其所贡献内容的信息或行为。主要表现为:
1)轻蔑:贬低、轻视他人及其劳动成果;
2)诽谤:捏造、散布虚假事实,损害他人名誉;
3)嘲讽:以比喻、夸张、侮辱性的手法对他人或其行为进行揭露或描述,以此来激怒他人;
4)挑衅:以不友好的方式激怒他人,意图使对方对自己的言论作出回应,蓄意制造事端;
5)羞辱:贬低他人的能力、行为、生理或身份特征,让对方难堪;
6)谩骂:以不文明的语言对他人进行负面评价;
7)歧视:煽动人群歧视、地域歧视等,针对他人的民族、种族、宗教、性取向、性别、年龄、地域、生理特征等身份或者归类的攻击;
8)威胁:许诺以不良的后果来迫使他人服从自己的意志;
3. 发布垃圾广告信息:以推广曝光为目的,发布影响用户体验、扰乱本网站秩序的内容,或进行相关行为。主要表现为:
1)多次发布包含售卖产品、提供服务、宣传推广内容的垃圾广告。包括但不限于以下几种形式:
2)单个帐号多次发布包含垃圾广告的内容;
3)多个广告帐号互相配合发布、传播包含垃圾广告的内容;
4)多次发布包含欺骗性外链的内容,如未注明的淘宝客链接、跳转网站等,诱骗用户点击链接
5)发布大量包含推广链接、产品、品牌等内容获取搜索引擎中的不正当曝光;
6)购买或出售帐号之间虚假地互动,发布干扰网站秩序的推广内容及相关交易。
7)发布包含欺骗性的恶意营销内容,如通过伪造经历、冒充他人等方式进行恶意营销;
8)使用特殊符号、图片等方式规避垃圾广告内容审核的广告内容。
4. 色情低俗信息,主要表现为:
1)包含自己或他人性经验的细节描述或露骨的感受描述;
2)涉及色情段子、两性笑话的低俗内容;
3)配图、头图中包含庸俗或挑逗性图片的内容;
4)带有性暗示、性挑逗等易使人产生性联想;
5)展现血腥、惊悚、残忍等致人身心不适;
6)炒作绯闻、丑闻、劣迹等;
7)宣扬低俗、庸俗、媚俗内容。
5. 不实信息,主要表现为:
1)可能存在事实性错误或者造谣等内容;
2)存在事实夸大、伪造虚假经历等误导他人的内容;
3)伪造身份、冒充他人,通过头像、用户名等个人信息暗示自己具有特定身份,或与特定机构或个人存在关联。
6. 传播封建迷信,主要表现为:
1)找人算命、测字、占卜、解梦、化解厄运、使用迷信方式治病;
2)求推荐算命看相大师;
3)针对具体风水等问题进行求助或咨询;
4)问自己或他人的八字、六爻、星盘、手相、面相、五行缺失,包括通过占卜方法问婚姻、前程、运势,东西宠物丢了能不能找回、取名改名等;
7. 文章标题党,主要表现为:
1)以各种夸张、猎奇、不合常理的表现手法等行为来诱导用户;
2)内容与标题之间存在严重不实或者原意扭曲;
3)使用夸张标题,内容与标题严重不符的。
8.「饭圈」乱象行为,主要表现为:
1)诱导未成年人应援集资、高额消费、投票打榜
2)粉丝互撕谩骂、拉踩引战、造谣攻击、人肉搜索、侵犯隐私
3)鼓动「饭圈」粉丝攀比炫富、奢靡享乐等行为
4)以号召粉丝、雇用网络水军、「养号」形式刷量控评等行为
5)通过「蹭热点」、制造话题等形式干扰舆论,影响传播秩序
9. 其他危害行为或内容,主要表现为:
1)可能引发未成年人模仿不安全行为和违反社会公德行为、诱导未成年人不良嗜好影响未成年人身心健康的;
2)不当评述自然灾害、重大事故等灾难的;
3)美化、粉饰侵略战争行为的;
4)法律、行政法规禁止,或可能对网络生态造成不良影响的其他内容。
二、违规处罚
本网站通过主动发现和接受用户举报两种方式收集违规行为信息。所有有意的降低内容质量、伤害平台氛围及欺凌未成年人或危害未成年人身心健康的行为都是不能容忍的。
当一个用户发布违规内容时,本网站将依据相关用户违规情节严重程度,对帐号进行禁言 1 天、7 天、15 天直至永久禁言或封停账号的处罚。当涉及欺凌未成年人、危害未成年人身心健康、通过作弊手段注册、使用帐号,或者滥用多个帐号发布违规内容时,本网站将加重处罚。
三、申诉
随着平台管理经验的不断丰富,本网站出于维护本网站氛围和秩序的目的,将不断完善本公约。
如果本网站用户对本网站基于本公约规定做出的处理有异议,可以通过「建议反馈」功能向本网站进行反馈。
(规则的最终解释权归属本网站所有)